Японская Nintendo уже давно сделала своей визитной карточкой причудливые контроллеры. "Палочки" от Wii нашли немало поклонников, джойстик с экраном от Wii U понравился не всем. Но очередная разработка японцев вызывает недоумение.
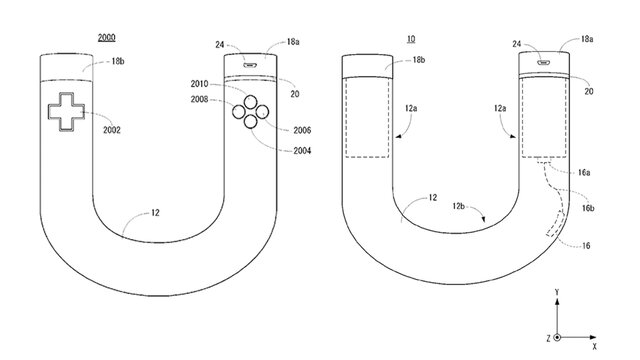
Компания Nintendo подала патент на новый причудливый контроллер, обозначенный в документе как "тренировочный инструмент, тренировочная система и устройство ввода данных". Замеченный участником NeoGAF джойстик напоминает по форме подкову и оснащён среди прочего акселерометром, гирометром и датчиком температуры. Несмотря на то, что устройство немного похоже на руль (особенно беспроводной руль для Xbox 360), скорее всего этот девайс будет иметь совершенно другое предназначение.

В патенте указано, что контролер представляет собой полую алюминиевую трубку и предполагается, что для него существуют дополнительные насадки-рукоятки. И всё же скорее всего он как-то связан с играми, так как в сопроводительном документе к патенту он указывается как "игровой контроллер соединяющийся с игровой системой"
Также в патенте упоминаются некие "портативные терминалы", связанные с использованием этого девайса. Возможно, это устройства для отслеживания положения игрока в пространстве вроде Kinect.
Неизвестно, связан ли этот контроллер с грядущей консолью Nintendo NX. В любом случае, если устройство и связано с консолью, оно почти наверняка не является его основным элементом управления, для этой цели у "рогалика" просто слишком мало кнопок.
Компания Nintendo подала патент на новый причудливый контроллер, обозначенный в документе как "тренировочный инструмент, тренировочная система и устройство ввода данных". Замеченный участником NeoGAF джойстик напоминает по форме подкову и оснащён среди прочего акселерометром, гирометром и датчиком температуры. Несмотря на то, что устройство немного похоже на руль (особенно беспроводной руль для Xbox 360), скорее всего этот девайс будет иметь совершенно другое предназначение.

В патенте указано, что контролер представляет собой полую алюминиевую трубку и предполагается, что для него существуют дополнительные насадки-рукоятки. И всё же скорее всего он как-то связан с играми, так как в сопроводительном документе к патенту он указывается как "игровой контроллер соединяющийся с игровой системой"
Также в патенте упоминаются некие "портативные терминалы", связанные с использованием этого девайса. Возможно, это устройства для отслеживания положения игрока в пространстве вроде Kinect.









