
Соответствующее сообщение появилось на страницах портала Business Insider. Издание пишет, что такой самолет сможет совершить перелёт из Лондона в Нью-Йорк в течение всего одного часа. Для сравнения, у Airbus A330 на аналогичный маршрут уходит до восьми часов.
На сегодняшний день рекордом времени перелета Лондон - Нью-Йорк считается 3,5 часа. Именно столько времени на этот маршрут в свое время уходило у Mach 2 Concorde. Эксперты Airbus считают, что на новом гиперзвуковом самолете можно будет добраться из Парижа в Сан-Франциско или из Токио в Лос-Анджелес всего за три часа, пишет Business Insder.
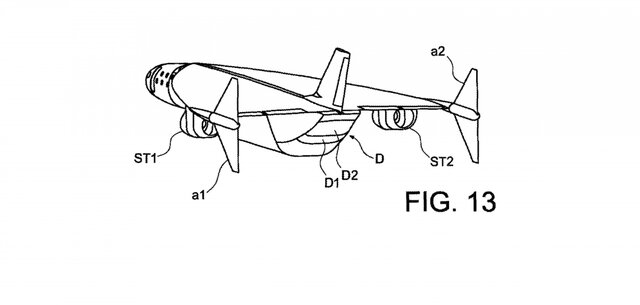
Как следует из заявки на патент, аппарат является воздушным транспортным средством, включающим в себя фюзеляж, треугольное крыло с каждой стороны фюзеляжа и систему двигателей, способных приводить аппарат в движение. Благодаря двигателем трёх различных типов судно сможет развить крейсерскую скорость более 3000 м/ч, что составляет чуть менее 5000 км/ч.



Специалисты Airbus также отмечают, что гиперзвуковой реактивный самолет может использоваться как в гражданской, так и в военной авиации. В гражданской авиации воздушное судно предлагается использовать для частных перевозок или перевозок небольших групп пассажиров (до 20 человек).
В составе военной авиации такая машина может служить для ультрабыстрой переброски малочисленных боевых подразделений и проведения разведки (вроде SR71 Blackbird).
Ссылки по теме
СП получило финансирование от компаний, среди которых Qualcomm Inc., Virgin Group и Airbus Group. Совместными усилиями предполагается построить в общей сложности 900 спутников, при этом в любой момент времени на орбите должно находиться не менее 640. Общий размер инвестиций в проект составит порядка $500 млн.
Airbus станет технологическим партнером OneWeb, а также будет предлагать собственные идеи в области компоновки и дизайна космических объектов. При этом запускать ракеты "Союз СТБ" будут с летающей пусковой платформы Arianespace и Virgin Galactic - LauncherOne.
В июне концерн Airbus Group обошел главного конкурента Boeing Co. по количеству заказов на авиасалоне в Ле Бурже после заключения договора на поставку 110 лайнеров авиаперевозчику Wizz Air. Венгерский лоукостер заказал у Airbus узкофюзеляжные самолеты модели A321neo с улучшенной аэродинамикой и более экономичным двигателем. Общая каталожная стоимость заказа составляет $12,5 млрд. Подчеркивается, что контракт предусматривает опцион на покупку еще 90 самолетов данной модели.





























































































