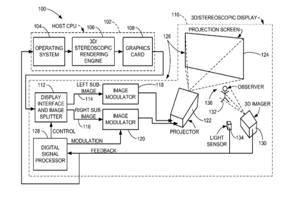
Корпорация Apple получила патент на технологию проецирования 3D-изображения, для восприятия которого не требуется надевать специальные стереоскопические очки. Этот метод работает следующим образом - каждый пиксель проецируется на отражающую, текстурированную поверхность, а затем по отдельности "попадает" в левый и правый глаз зрителя, производя тем самым трехмерный эффект.
Более того, эта система умеет определять месторасположение обоих глаз каждого зрителя, поэтому 3D-картинку смогут увидеть сразу несколько человек с разных углов. Эта технология предназначена для использования в недорогих автостереоскопических 3D-дисплеях, которые обеспечат зрителю полную свободу передвижения, отмечается в патентной заявке, выданной Apple Бюро США по патентам и товарным знакам (USPTO).
Другими словами, для запатентованных "яблочной" компанией 3D-дисплеев не требуется специальные очки, а зрители не будут ограничены углом обзора или необходимостью сидеть прямо и неподвижно, чтобы увидеть трехмерный эффект.
Отметим, что Apple - не единственная компания, которая интересуется подобными технологиями. Прототипы 3D-телевизоров, для которых не нужны стереоочки, также есть у корпораций Sharp и Toshiba. К концу этого года первые модели этих устройств поступят в продажу в Японии.
Технология Toshiba заключается в том, что более мощный, чем в обычных телевизорах, процессор формирует 3D-картинку путем совмещения девяти одинаковых 2D-изображений. Для просмотра стереоскопической картинки зрителю рекомендуется сидеть на расстоянии не менее 60 сантиметров от телевизора с диагональю 12 дюймов и не менее 90 сантиметров от 20-дюймового экрана.

Также по теме:
Apple запатентовала iMac с функциями iPad
Представлены первые 3D-телевизоры без стереоочков
Apple оштрафовали на $625 миллионов за нарушение патентов
В Японии выпустят 3D-телевизоры, для которых не нужны очки
Apple приобрела эксклюзивные права на "жидкий металл"


















































































