Корпорация Apple запатентовала инженерные решения, описывающие уменьшение стандартного 3,5-мм аудиоразъема и его "мини-версии" толщиной 2,5 мм. Если такие "гнезда" действительно получиться разработать, то новые "яблочные" ультратонкие устройства увидят свет уже в ближайшем будущем.
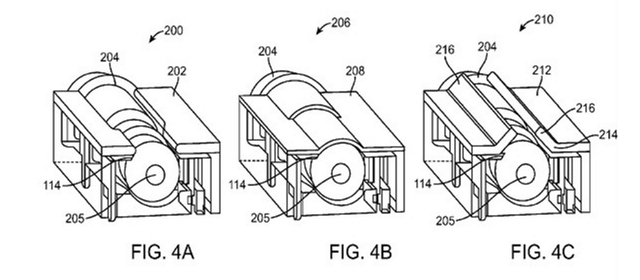
В заявке, поданной в Бюро США по патентам и товарным знакам (USPTO) на прошлой неделе, Apple описала три способа уменьшения стандартного аудиоразъема. В этой заявке, в частности, предлагается придать порту овальную форму, покрыть его гибким материалом или закрыть "шторками", которые открываются при подключении наушников.
Все эти решения позволят Apple создать еще более тонкие устройства, имеющие стандартные аудиоразъемы. Сейчас толщина четвертого поколения плееров iPod Shuffle составляет 8,7 мм, iPhone 4 - 9,3 мм, а нового iPad 2 - 8,8 мм.
Среди других недавних патентов Apple: стилус для планшетного компьютера, два новых устройства ввода, а также технология проецирования 3D-изображения.

Также по теме:
Apple запатентовала стилус для планшетного компьютера
Apple запатентовала два новых устройства ввода
Microsoft хочет лишить Apple прав на App Store
Apple запатентовала технологию "3D без очков"
Motorola требует запретить продукцию Apple
























































































